F41F46反应釜底部不锈钢衬氟放料阀技术规范 F41F46不锈钢衬氟放料阀适用在-50℃~150℃的各种浓度的水、硫酸、盐酸、和各种有机酸、强酸、强氧化剂,FEP还适用于各种浓度的强碱有机溶剂以及其它腐蚀性气体、液体介质的管路上使用。衬氟放料阀是一种广泛应用于化工、石油、冶金、制药、农药、染料、食品加工等行业的阀门,主要用于反映器、储罐和其他容器的底部排料。它的主要功能是通过阀门的底部法兰焊接于储罐和其他容器的底部,从而消除工艺介质在容器出口的残留现象。衬氟放料阀的设计考虑了实际使用情况,其底部结构可以是平底型或V型,提供提升和下降两种工作方式,以适应不同的排料需求。气动放料阀凭借其高效、稳定的性能,成为反应釜、储罐等容器底部排料、放料及取样的关键设备。正确的安装与良好的维护,不仅能确保其正常运行,更能延长使用寿命,保障生产的安全与高效。接下来,让我们深入了解班尼戈气动放料阀的安装与维护要点。 阀体内腔装有耐冲刷、耐腐蚀的密封圈,在开启阀门瞬间,可以保护阀体不被介质冲刷、腐蚀。密封圈经过特种处理,表面硬度达到HRC56-62,具有高耐磨、耐腐蚀的功能。阀瓣密封根据需要时封面均堆焊有硬质合金,密封副采用线密封,保证密封的可靠性,并可防止结疤。此外,衬氟放料阀采用短行程阀瓣的设计,进一步简化了操作和维护。 衬氟放料阀的特点包括耐腐蚀性强、密封性能好、操作简便、适用范围广等。其阀座和阀杆等主要部件采用氟塑料材料制成,这种材料具有出色的耐腐蚀性,能够长期稳定地在各种恶劣环境下工作。阀门采用合理的密封结构,密封圈更换方便实用,保证了阀门的密封可靠性,防止介质泄漏。进口衬氟放料阀广泛应用于化工、石油、制药、食品等行业中,用于控制各种腐蚀性介质的流量和压力。放料阀是一种专门用于控制流体流动的阀门,广泛应用于化工、石油、冶金、制药、农药、染料和食品加工等行业。以下是对放料阀的详细介绍: 
F41F46反应釜底部不锈钢衬氟放料阀技术规范 百科名称:放料阀 百科型号:FL641H,FL645H.FL641F,FL645F,FL641W,FL645W,FL641Y,FL645Y 所属品牌:申弘 所属产地:中国 公称通径:DN25~DN500 结构形式:上展式、下展式、柱塞式 公称压力:1.6MPa~2.5MPa~4.0MPa 连接方式:法兰 适用温度:-29ºC~+425ºC 驱动方式:手动、气动、电动 阀体材质:铸钢、不锈钢 制造标准:国标GB、德国DIN、美国API、ANSI 适用介质:颗粒状物料、结晶颗粒、其他物料等 广泛应用:石油,化工,电力,环保,水利,供热,给排水,工业,机械
一、F41F46反应釜底部不锈钢衬氟放料阀技术规范结构特点
放料阀主要由阀体、阀瓣、阀杆、定位螺钉、密封圈等部件组成。其结构特点包括: 平底型放料口:放料阀的放料口底结构设计为平底型,便于物料的排放和清理。 Y形阀体:阀体为Y形设计,流路流畅,流量大,压降损失小,有利于提高系统的效率。 耐冲刷、耐腐蚀密封圈:阀体内腔装有耐冲刷、耐腐蚀的密封圈,可以保护阀体不被介质冲刷、腐蚀,同时保证密封的可靠性。 短行程阀瓣设计:采取短行程阀瓣设计,使得阀门的开启和关闭更加迅速、灵活。
二、F41F46反应釜底部不锈钢衬氟放料阀技术规范工作原理放料阀的工作原理是通过阀杆推动阀瓣上行或下降,从而达到开启与关闭的目的。具体来说,当需要排放物料时,通过驱动装置(如手动、气动、电动等)使阀杆上升或下降,带动阀瓣移动,从而改变流体的流通路径,实现物料的排放。 
三、F41F46反应釜底部不锈钢衬氟放料阀技术规范类型与分类放料阀根据不同的分类标准可以分为多种类型,包括: 按结构分类:
上展式放料阀:阀瓣向上运动阀门打开,打开时需克服介质作用力,因此打开力矩较大。 下展式放料阀:阀瓣(柱塞)向下运动阀门打开,打开时运动方向与介质作用力相同,因此打开力矩较小。 柱塞式放料阀:类似于下展式放料阀,但结构更加紧凑,适用于特定场合。 放料球阀:采用球形阀瓣,具有密封性好、操作灵活等优点。 三通放料阀:具有三个通道,可以实现介质的分流或切换排放。
手动放料阀:通过手轮或手柄进行操作,适用于小型或操作频率不高的场合。 气动放料阀:利用压缩空气作为动力源,具有响应速度快、操作方便等优点。 电动放料阀:通过电动机驱动阀杆转动,具有控制精度高、操作简便等特点。
四、F41F46反应釜底部不锈钢衬氟放料阀技术规范应用领域
放料阀主要用于储料罐、反应釜及其他容器的底部排放物料。其应用领域包括但不限于: 化工行业:用于各种化工原料和产品的输送、分流和排放。 石油行业:用于石油炼制和加工过程中的物料排放。 冶金行业:用于冶金过程中的物料输送和排放。 制药行业:用于药品生产过程中的物料切换和排放。 食品加工行业:用于食品加工过程中的原料和成品的输送和排放。
F41F46反应釜底部不锈钢衬氟放料阀技术规范产品特点1、采用氟塑料衬里层的放料阀,具有高的化学稳定性,适用于任何强腐蚀性化学介质; 2、流体阻力小,内壁光滑,流道通畅是所有阀类中流体阻力最小的一种。 3、采用特殊模压工艺,将衬里材料衬于阀门壳体内壁,能耐强酸、强碱介质的腐蚀。衬里球面与PTFE阀座组合,密封性好,达到了零泄漏; 4、可配置气动、电动、液动等多种驱动装置,实现远距离控制和自动化操作; 
F41F46反应釜底部不锈钢衬氟放料阀技术规范衬氟材料| 聚三氟乙烯 PCTEF (F3) | 适用介质:各种有机溶剂,无机腐蚀液(氧化性酸类) 使用温度:-195~120特点:耐热性,电性能和化学稳定性仅次于F4,机械强度,蠕变性能,硬度比F4好些 | | 聚全氟乙烯FEP (F46) | 适用介质:任何有机溶剂或试剂,稀或浓无 机 酸,碱,酮,芳烃,氯化烃等。使用温度: -85~150特点:力学,电性能和化学稳定性基本与F4相同,但突出优点是动击韧性 高,有的耐候性和辐射性。 | | 聚烯烃PO | 适用介质:各种浓度的酸碱盐及某些有机溶剂。 使用温度:-58~80特点:是目前理想的防腐材料,已广泛用于旋转成型的大型设备和管道件内衬。 | | 聚偏氯乙烯 PVDF(F2) | 使用介质:耐大多数化学药品和溶剂,使用温度:-70~100特点:拉绅强度与压缩强度比F4好,耐弯折,耐候,耐辐射。耐光和老化等,特 点是韧性好,易成型。 | | 聚四氯乙烯 PTFE(F4) | 使用介质:强酸,强碱,强氧化剂等。使用温度:-200~180特点:具有优异的化学稳定性,有很高的耐热性,耐寒性,磨擦系数很低,是的 自润滑材料,但机械性能较低,流动性差,热膨胀大。 | | 聚氯乙烯: 硬质)PVC | 适用介质:耐水,浓碱,非氧化性酸,链烃,油和臭氧等。使用温度:0-55特点:机械强度较高,化学稳定性及介电性能优良,耐油性和抗老性也较好,易熔接及粘合,价格较低。 | | 聚丙烯: RPP | 适用介质:无机盐类的水溶液,无 机 酸类,碱类的稀或浓溶液。使用温度:-14~80特点:最轻的塑料之一,其屈服,拉伸和压缩强度,硬度均优于低压聚乙烯,有很突出的刚性,耐热性好,易成型,优廉。改性后动击性,流动性,弯曲弹性。 |
主要零件材质| 零件名称 | ZG1Cr18Ni9Ti系列 | ZG00Cr18Ni10系列 | ZG1Cr18Ni12MO 2 Ti系列 | ZG00Cr17Ni14MO 2 系列 | WCB系列 | | 阀体/阀盖 | ZG1Cr18Ni9Ti | ZG00Cr18Ni10 | ZG1Cr18Ni12MO 2 Ti | ZG00Cr17Ni14MO 2 | WCB | | 阀杆 | ZG1Cr18Ni9Ti | ZG00Cr18Ni10 | ZG1Cr18Ni12MO 2 Ti | ZG00Cr17Ni14MO 2 | WCB | | 阀瓣 | ZG1Cr18Ni9Ti | ZG00Cr18Ni10 | ZG1Cr18Ni12MO 2 Ti | ZG00Cr17Ni14MO 2 | WCB | | 垫片 | 304+PTFE | 304L+PTFE | 316+PTFE | 316L+PTFE | 石墨+304 | | 螺柱 | 1Cr17Ni2 | 1Cr17Ni2 | 1Cr17Ni2 | 1Cr17Ni2 | 35CrMoA | | 螺母 | 1Cr18Ni9Ti | 1Cr18Ni9Ti | 1Cr18Ni9Ti | 1Cr18Ni9Ti | 45 |
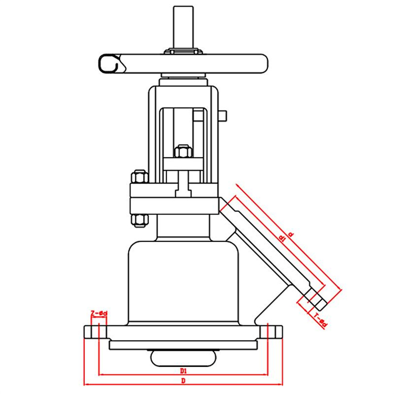
F41F46反应釜底部不锈钢衬氟放料阀技术规范外形结构图
主要外形尺寸(上展式)| DN | 上法兰 | 上法兰 | 下法兰 | 密封座 | | D1 | D2 | D3 | D4 | D5 | D6 | | 25 | 115 | 80 | 115 | 85 |
|
| | 32 | 135 | 100 | 135 | 100 |
|
| | 40 | 145 | 110 | 145 | 110 | 80 | 60 | | 50 | 165 | 125 | 160 | 125 | 85 | 70 | | 65 | 180 | 145 | 180 | 145 | 130 | 85 | | 80 | 195 | 160 | 195 | 160 | 135 | 95 | | 100 | 215 | 180 | 215 | 180 | 160 | 130 | | 125 | 245 | 210 | 245 | 210 | 160 | 140 | | 150 | 280 | 240 | 280 | 240 | 185 | 165 | | 200 | 335 | 295 | 335 | 295 | / | / |
主要外形尺寸(下展式)| DN | 上法兰 | 上法兰 | 下法兰 | 密封座 | | D1 | D2 | D3 | D4 | D5 | D6 | | 25 | 115 | 85 | 135 | 100 | 70 | 40 | | 32 | 135 | 100 | 145 | 110 | 75 | 55 | | 40 | 145 | 110 | 160 | 125 | 85 | 65 | | 50 | 165 | 125 | 180 | 145 | 100 | 70 | | 65 | 180 | 145 | 195 | 160 | 135 | 90 | | 80 | 195 | 160 | 215 | 180 | 155 | 130 | | 100 | 215 | 180 | 245 | 210 | 180 | 135 | | 125 | 245 | 210 | 280 | 245 | 195 | 145 | | 150 | 280 | 240 | 335 | 295 | 210 | 185 | | 200 | 335 | 295 | 405 | 355 |
|
|
五、F41F46反应釜底部不锈钢衬氟放料阀技术规范安装与维护
安装要求:
放料阀应安装在反应釜、储罐等容器的底部,确保物料能够顺利排放。 安装前应检查阀门的外观和内部部件是否完好,有无损坏或变形等问题。 安装时应按照阀门的使用说明书进行,确保阀门的安装位置、方向等符合要求。
综上所述,放料阀是工业领域中的重要设备。通过合理选择、正确安装和定期维护放料阀,可以确保设备和系统的安全稳定运行,提高生产效率。
放料阀的安装步骤如下: 首先,准备工作。需要仔细检查放料阀的型号、规格是否与安装设计要求相符,确保阀门无损坏、无杂质等。同时,准备好安装所需的工具,如扳手、密封胶等。 接下来进行阀门的定位。根据安装图纸或工艺要求,确定放料阀在管道系统中的安装位置,确保其能够满足物料的排放需求且便于操作和维护。在定位时,要注意与其它管道设备的间距和连接方式,避免相互干扰。 然后进行阀门与管道的连接。一般采用法兰连接或螺纹连接方式。如果是法兰连接,要先对管道和阀门的法兰面进行清理,去除油污、杂质等,确保密封面平整干净。然后在法兰间加入密封垫片,用扳手均匀拧紧螺栓,注意拧紧顺序要对称,以保证密封效果。若为螺纹连接,则要确保螺纹加工合格,涂抹适量的密封胶后,用扳手旋紧螺纹,同样要注意拧紧力度和顺序。 连接完成后,对放料阀进行调试。开启阀门,检查阀门的开启和关闭是否灵活,密封性能是否良好,有无渗漏现象。如有问题,及时进行调整或维修。 后,对安装好的放料阀进行标识和记录,包括阀门的编号、安装日期、调试情况等,以便日后的维护和管理。 
F41F46反应釜底部不锈钢衬氟放料阀技术规范安装前的细致准备
型号与规格核对:在安装班尼戈气动放料阀前,务必仔细核对阀门的型号、规格是否与实际使用场景相匹配。包括工作压力(一般为 0.6 - 2.5MPA)、工作温度(通常在 - 20℃ - 425℃范围,但不同材质有差异)、阀门口径(DN25 - DN300)以及适用介质(如油品、酸类、腐蚀性介质等),确保阀门能满足设备运行要求。
外观与零部件检查:对阀门进行全面的外观检查,查看阀体、阀瓣、支架等部件是否有损坏、变形、腐蚀迹象。同时,检查阀门的各个零部件是否齐全,如密封圈、阀杆、螺母、定位螺钉等,避免因零部件缺失影响安装与使用。
清洁与脱脂处理:为保证阀门的密封性能与正常运行,需对其零部件进行清洁与脱脂处理。根据加工要求,部分零部件若需抛光,表面应无加工毛刺。所有零部件进行脱脂,脱脂后进行酸洗钝化(清洗剂不含磷),随后用纯净水冲洗干净(碳钢部件可省去酸洗钝化及冲洗步骤)。最后,用无纺布擦干或用洁净氮气吹干,并用沾有分析纯酒精的无纺布擦拭,确保无脏色残留。
安装环境评估:选择合适的安装位置,应避免安装在有剧烈震动和冲击的地方,以及可能对阀门造成损害的场地。安装环境温度不宜高于 60℃,且要远离连续振动的设备。同时,要确保安装场地便于人员操作和安全维护,既方便手动操作,又利于日后的拆装与维护。

F41F46反应釜底部不锈钢衬氟放料阀技术规范严谨的安装流程
管道连接准备:将与班尼戈气动放料阀连接的管道端口清理干净,去除污垢、铁锈等杂质,保证管道连接面平整、光滑。检查管道的走向与坡度,确保符合设计要求,以利于介质的顺畅排放。 阀门安装就位:班尼戈气动放料阀一般应垂直安装,且最有支撑,以保证阀门在工作过程中的稳定性。借助于阀门底部法兰,将其与反应釜、储罐或其他容器的底部进行焊接或螺栓连接。连接时,注意保持阀瓣与密封圈密封面无污垢、泥沙,避免影响密封性能。安装过程中,要防止给阀门带来附加应力,以免损坏阀门结构。 气源系统连接:班尼戈气动放料阀依靠气源驱动,因此气源系统的连接至关重要。气源应清洁、干燥,不含腐蚀性的压缩空气,气源中的固体颗粒含量应小于 0.1g/m³,微粒直径应小于 60μm,含油量应小于 10mg/m³。将气源管道与阀门的气动执行机构正确连接,确保连接牢固,无泄漏。同时,检查气源压力是否在正常范围内,一般气动阀门的气源压力要求在 0.4 - 0.6MPa 之间。 电气控制系统连接:对于配备电气控制的班尼戈气动放料阀,要正确连接控制线路。确保电气部分的电源信号无短路或断路故障,防止水等液体进入电气系统,保证电磁阀和回信开关等控制元件正常工作。连接完成后,进行电气性能测试,检查控制信号是否能准确控制阀门的开启与关闭。 安装后调试检查:在完成班尼戈气动放料阀的安装后,进行全面的调试与检查。首先,进行外观检查,查看阀门安装是否牢固,各连接部位是否紧密。然后,进行手动调试,轻松转动手轮,检查阀门的开启与关闭是否灵活,切换手柄是否能准确推移到相应指示位置。接着,进行气动调试,接通气源,观察阀门在气源驱动下的动作情况,检查阀门的开启和关闭时间是否符合要求,密封性能是否良好。在调试过程中,若发现问题,应及时排查解决,确保阀门能正常投入使用。
F41F46反应釜底部不锈钢衬氟放料阀技术规范全面的维护保养 日常维护 外观清洁检查:每天或每班对班尼戈气动放料阀进行外观检查,及时清理阀门表面的灰尘、油污等污垢,保持阀门外观整洁。同时,查看阀门表面有无腐蚀现象,对于轻微腐蚀,可采取涂抹防腐漆等措施进行处理。
连接部位检查:定期检查阀门与管道的连接部位,查看是否有松动、泄漏现象。若发现泄漏,应及时查找原因,如拧紧连接螺栓、更换密封垫片等。此外,还要检查执行机构与阀门本体的连接是否牢固,如有松动,需及时紧固。
气源系统维护:密切关注气源压力,确保其在正常范围内波动。定期检查气源管道是否有泄漏,如有泄漏点,应及时修复。同时,定期排放气源过滤器中的水分和杂质,防止其进入阀门内部,影响阀门的正常运行。

F41F46反应釜底部不锈钢衬氟放料阀技术规范定期保养
每月保养:
每季度保养:
每年保养:

F41F46反应釜底部不锈钢衬氟放料阀技术规范故障处理与应急维护
故障诊断与处理:当班尼戈气动放料阀出现故障时,应迅速进行故障诊断。根据故障现象,如阀门不动作、泄漏、动作异常等,分析可能的原因。例如,阀门不动作可能是气源故障(如气源压力不足、气源管道堵塞)、执行机构故障(如气缸损坏、活塞密封失效)或控制信号故障(如电磁阀故障、控制线路断路)等。通过逐步排查,确定故障点,并采取相应的修复措施,如修复气源系统、更换执行机构部件或修复控制线路等。 应急维护措施:在生产过程中,若班尼戈气动放料阀出现紧急故障,影响生产的正常进行,应立即采取应急维护措施。例如,对于一些具有手动操作功能的阀门,可临时采用手动操作方式,确保物料的排放,维持生产流程的连续性。待生产结束或有合适的时机时,再对阀门进行的维修和检查,以恢复其正常的气动控制功能。
总之,正确安装与精心维护班尼戈气动放料阀,是保障其高效、稳定运行的关键。企业应严格按照安装与维护要求,制定科学的操作与保养计划,确保每一台班尼戈气动放料阀都能在生产中发挥效能,为企业的安全生产与高效运营保驾护航。 |